高光譜成像儀運用了麵陣探測器與光柵分光係統的技術,它的性能得到了極大的提升,應用也更為廣泛。本文主要介紹了光柵式高光譜成像儀的結構構成和工作原理。
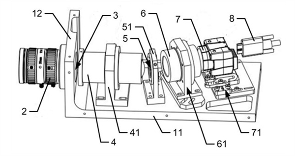
高光譜成像儀的結構構成主要包括底板以及固定於所述底板並沿所述底板的一端向另一端的方向依次間隔設置的鏡頭、狹縫、準直鏡、透射光柵、聚焦鏡和探測器等,參考上圖。
簡單來說,光柵式高光譜成像儀主要由光譜儀和成像係統兩大主要部分組成。通過處理分析軟件,在獲得影像中每一個像素點的光譜信息的同時,可以獲得每一個波譜下的影像信息,即獲得一個三維的信息數據。光譜分辨率精度可以達到幾個納米到幾十個納米,這相對於普通的RGB成像更能在不破壞樣本的情況下,精準的掌握樣本更多的信息。
難關研究表明:探測器上設置串口總線接口,並限定狹縫的寬度和長度,同時限定各部件之間的光軸角度,從而可以使其獲取更高分辨率、更高靈敏度以及更低雜散度的光譜圖像。
光柵式高光譜成像儀和其他高光譜成像儀一樣,能夠達到很高的光譜分辨率,在400-1000nm的範圍內光譜分辨率通常優於10nm,並且具備連續光譜成像的特點。
目前主流的分光方式為反射式光柵分光,其通過前置鏡頭與反射式光柵的光學結構耦合光路,並利用麵陣相機采集物質的光譜圖像。
但隨著光柵式高光譜成像儀的光譜與空間分辨率的需求提升,如何獲取更高分辨率、更高靈敏度以及更低雜散度的光譜圖像成為了其最主要的問題。