NH多功能測試組件使用說明
使用範圍:可用於測試液體試劑、醬狀物(如番茄醬、塗料)、粉末(如咖啡)等。
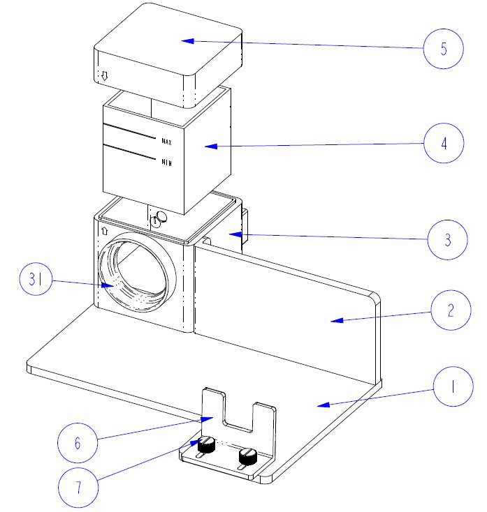
一、 組件結構
如圖1中所示,多功能測試組件的結構如下:
(1)基座、(2)基座擋板、(3)方形積分器、(31)方形積分器測量口、(4)比色皿、(5)蓋板、(6)推板、(7)螺絲。
圖1 多功能測試組件結構
二、使用方法
如圖2,3多功能測試組件的使用方法如下:
1、將NH310青青草在线播放按照如圖2放置好,其中,NH310的測量端口要與(31)方形積分器測量口對接好,如圖3所示,然後將(6)推板頂住NH310青青草在线播放,擰緊7螺絲,檢查NH310青青草在线播放是否鬆動,如果鬆動,請務必再次擰緊(7)螺絲。
2、將(4)比色皿,裝入(3)方形積分器。(4)比色皿有兩個磨砂麵,拿(4)比色皿的時候請隻接觸這兩個磨砂麵;另外,有兩個透明麵,上麵刻有“MAX”、“MIN”字樣,請將其中一麵對著31方形積分器測量口,如圖2所示;
3、將(4)比色皿裝入(3)方形積分器後,蓋上(5)蓋板,(5)蓋板上有一個箭頭圖標,(3)方形積分器上有一個相同的箭頭圖標,請確保兩個箭頭圖標位置一致,如圖3所示。
完成以上步驟後,即可啟動NH310青青草在线播放進行測量。
圖2 NH310青青草在线播放與多功能測試組件的配合
圖3 NH310青青草在线播放與多功能測試組件的配合
三、注意事項
1、保持(3)方形積分器中的整潔,防止弄髒;多功能測試組件使用完畢後,把(5)蓋板蓋上,保持3方形積分器封閉;
2、防止(4)比色皿兩個透明麵刮傷、弄髒,使用前、後均保持(4)比色皿內、外麵清潔。
3、裝入(4)比色皿的待測物品的量務必在“MAX”和“MIN”的劃線之間。
多功能測試組件實拍