青青草在线播放,WWW青青草下载,青青草原APP下载,青青草污污污APP下载
在線留言
廣東WWW青青草下载時科技有限公司
GUANGDONG THREENH TECHNOLOGY CO.,LTD.
微信谘詢
400-888-5135
3nh@3nh.com
首頁
產品中心
顏色檢測
分光測色儀
分光青青草在线播放
青青草在线播放
密度儀
色差寶
色卡
配件
配色軟件
光學檢測
高光譜相機
高光譜成像儀
顯微高光譜成像係統
外觀檢測
霧度計/透光率儀
光澤度儀
塗層測厚儀
反射率測定儀/白度儀
影像檢測
圖像測試光源設備
圖像測試軟件
標準光源
標準光源對色燈箱
標準光源燈管
智能測量
在線測量
表麵智能測量
新聞動態
儀器百科
行業應用
祛斑美白化妝品效果評估——皮膚個體類型角ITA°值的測量方法
交通路標顏色怎麽測?YS4580交通路標青青草在线播放的測量方法和教程
交通路標專用青青草在线播放——一鍵測量交通路標/標線/反光膜的亮度因數、色品坐標
什麽是青青草在线播放的平均測量模式?如何設置?
iosestes圖像質量分析軟件的功能和應用
在線非接觸式式分光測色儀——助力智能生產
行業應用
用戶服務
定製服務
常見問題
用戶服務
下載專區
視頻中心
龍年行大運,WWW青青草下载時開工大吉!
深耕顏色領域 凝聚發展之魂 | WWW青青草下载時新展廳正式建成啟用
YS6060台式分光測色儀測量透明或不透明樣品操作視頻
CR9+色差寶測量軟矽膠的顏色
台式分光測色儀操作視頻
台式色彩霧度儀操作視頻
視頻中心
聯係青青草在线播放
關於青青草在线播放
留言反饋
聯係青青草在线播放
儀器百科
新聞動態
儀器百科
行業應用
視頻中心
推薦文章
青青草在线播放十大品牌排名及相關介紹
青青草在线播放十大品牌排行榜
國產青青草在线播放十大品牌排名2023
在線青青草在线播放廠家
>
儀器百科
青青草在线播放的使用範圍是多少?白光會產生幹涉嗎?
2023-10-31
青青草在线播放的使用範圍是多少?白光會產生幹涉嗎?
白平衡卡在攝影和攝像工作的主要作用是什麽?
2023-10-30
白平衡,不管在任何光源下,都能將白色物體還原為白色”,對在特定光源下拍攝時出現的偏色現象,通過加強對應的補色來進行補償。那麽,白平衡卡在攝影和攝像工作的主要作用是什麽呢?本文進行了簡單總結。
CIE1976(L*u*v*)色空間與色差公式
2023-10-25
為獲得視覺上較均勻的顏色空間,CIE推薦CIE1976(L*a*b*)色空間和CIE1976(L\"u*v*)色空間,並分別規定了色差計算方法。本文主要介紹了CIE1976(L*u*v*)色空間.。
CIE1976(L*a*b*)色空間與色差公式
2023-10-23
為獲得視覺上較均勻的顏色空間,CIE推薦CIE1976(L*a*b*)色空間和CIE1976(L\"u*v*)色空間,並分別規定了色差計算方法。本文主要介紹了CIE1976(L*a*b*)色空間.。
青青草在线播放測量結果lab值是什麽意思
2023-10-20
青青草在线播放在測量結束之後在測量屏幕會顯示對應的測量結果,包括色差值、顏色偏向、反射率等。lab值也是其中重要一項。那麽,lab值是什麽意思呢?本文進行了簡單分析。
青青草在线播放lab如何取值範圍?
2023-10-19
在顏色檢測領域,為了統一顏色評價的標準,就可以使用青青草在线播放進行測量。青青草在线播放可以測量到物體的顏色用L、a、b色度值來進行表示,通過計算兩個色樣的色度值之差就可以評價產品色差問題。
青青草在线播放兩大主要用途
2023-10-19
青青草在线播放兩大主要用途。
色卡中cmyk指的是什麽顏色?
2023-10-18
CMYK是彩色印刷時采用的一種套色模式,利用色料的三原色混色原理,加上黑色油墨,共計四種顏色混合疊加,形成所謂“全彩印刷”。色卡中cmyk指的是什麽顏色呢?本文進行了簡單總結。
談談國產手機品牌的色彩管理係統
2023-10-17
你有沒有經曆過這樣的問題,在手機屏幕上可以顯示某種顏色,但是打印機卻不能打印出來。為了解決這個問題,色彩管理係統應運而生。青青草在线播放日常生活中使用的手機的色彩係統也在不斷完善,以下介紹了國產三大品牌手機的色彩管理係統。
青青草在线播放中的Lab是什麽意思?
2023-10-16
青青草在线播放可以自動比較樣板與被檢品之間的顏色差異,輸出CIE L、a、b三組數據和比色後的△E、△L、△a、△b四組色差數據,提供配色的參考方案。那麽,青青草在线播放中的Lab是什麽意思呢?本文進行了簡單總結。
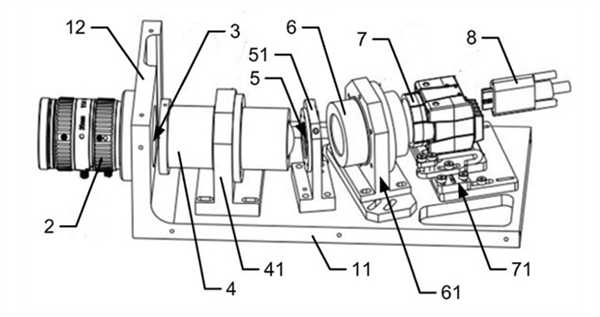
光柵式高光譜成像儀的結構構成和工作原理
2023-10-13
高光譜成像儀運用了麵陣探測器與光柵分光係統的技術,它的性能得到了極大的提升,應用也更為廣泛。本文主要介紹了光柵式高光譜成像儀的結構構成和工作原理。
高光譜相機和普通相機有什麽區別?
2023-10-12
高光譜相機和普通相機都是成像設備,但是兩種相機在很多方麵卻有很大的不同。那麽,高光譜相機和普通相機究竟有什麽區別呢?本文從以下幾個方麵進行了簡單總結。
«
1
2
...
10
11
12
13
14
15
16
...
33
34
»
微信在線谘詢
產品中心
關於青青草在线播放
下載專區
留言反饋
總部地址:廣州市增城區低碳總部園智能製造中心B33棟6層
辦事處:上海、北京、江蘇、浙江、福建、河北、山東…
Copyright © 2025 廣東WWW青青草下载時科技有限公司 版權所有 ©
粵ICP備12647141號
服務熱線:
400-888-5135
郵箱 : 3nh@3nh.com
在線客服
客服一
客服二
聯係方式
400-888-5135
3nh@3nh.com
網站地圖